Фильтры-влагомаслоотделители для сжатого воздуха
Фильтры-влагомаслоотделители ФТВА 108.120.750-01 и ФТВА 108.120.1450-01 предназначены для очистки сжатого воздуха от твердых частиц и аэрозолей влаги и масла. Рекомендуются для очистки сжатого воздуха в компрессорных цехах и пневматических сетях промышленных и транспортных предприятий, а также электрических сетей.
Фильтры-влагомаслоотделители ФТВА, разработанные ИХЛ УдГУ, отличаются повышенной эффективностью очистки сжатого воздуха от твердых частиц и аэрозолей влаги и масла благодаря использованию для изготовления фильтровальной перегородки специального фильтровального материала с фрактальной структурой, расстояние между волокнами которого уменьшается в геометрической прогрессии от входа к выходу фильтруемой среды. За счёт оптимальной структуры фильтровальный материал обеспечивает эффективную очистку воздуха сначала от крупных, а затем от мелких и коллоидных частиц загрязнений и микрокапель влаги и масла.
Фильтры для сжатого воздуха ФТВА предназначены для эксплуатации в закрытых отапливаемых помещениях в макроклиматических районах с умеренным и холодным климатом (исполнение УХЛ) по ГОСТ 15150-69*.
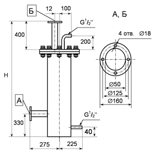
Фильтры-влагомаслоотделители для сжатого воздуха ФТВА состоят из корпуса 2 с входным патрубком 1 и выходным патрубком 5. Длина корпуса изменяется в зависимости от модели (производительности) фильтра. Внутри корпуса расположен каркас 3 с расположенной на нем фильтрующей перегородкой 4. Для удаления водомасляного отстоя фильтр снабжен нижним и верхним продувочными патрубками 6.
Принцип действия фильтров-влагомаслоотделителей ФТВА заключается в том, что сжатый воздух, подаваемый в корпус 2 фильтра через патрубок 1, проходит через фильтровальную перегородку 4, изготовленную из фильтровального материала с фрактальной структурой. При этом твёрдые частицы задерживаются в слое фильтровального материала, а аэрозольные частицы влаги и масла оседают на волокнах фильтровального материала и постепенно стекают в отстойники, которые расположены в нижней части корпуса фильтра. Водомасляный отстой из отстойников удаляют путём периодической продувки через продувочные трубопроводы 6, при этом выключение фильтра из работы не требуется.
Агрегируя фильтры-влагомаслоотделители ФТВА 108.120.750-01 и ФТВА 108.120.1450-01 в блоки, можно получить фильтры для очистки сжатого воздуха любой необходимой производительности.
